
在创新驱动发展战略的引领下,高新技术企业已成为衡量区域经济高质量发展和科技创新能力的核心引擎。对于新疆维吾尔自治区的科技型企业而言,获得高新技术企业认定不仅是技术实力的“国家级认证”,更是享受税收减免、资金奖励、提升品牌价值、吸引高端人才的“金钥匙”。
随着2026年申报周期的开启,新疆的高企认定政策呈现出“门槛规范化、流程批次化、奖励多元化”的特点。本文基于最新政策文件与各地州出台的奖励办法,为您详细剖析2026年新疆高企申报的核心要点,并深入解读自治区及各地州市的叠加奖补红利,助力企业精准规划,高效备战。
要成功申报高企,企业必须同时满足八个方面的硬性指标。这些条件缺一不可,是企业进入评审环节的基础通行证。
成立年限:企业申请认定时须注册成立一年以上(即2025年1月1日前注册)。
知识产权:企业需通过自主研发、受让等方式,获得对其主要产品(服务)在技术上发挥核心支持作用的知识产权的所有权。通常建议拥有至少1项I类知识产权(如发明专利)或6项以上II类知识产权(如实用新型专利、软件著作权)。
技术领域:对企业主要产品(服务)发挥核心支持作用的技术,必须属于《国家重点支持的高新技术领域》规定的八大范围,包括电子信息、生物与新医药、航空航天、新材料、高技术服务、新能源与节能、资源与环境、先进制造与自动化等。结合新疆本地产业导向,现代农业、特色林果深加工、新能源(风能/太阳能)以及矿产资源综合利用等领域同样受到重点支持。
科技人员占比:企业从事研发和相关技术创新活动的科技人员占企业当年职工总数的比例不低于10% 。
研发费用占比(核心财务指标) :企业近三个会计年度(2023-2025年)的研究开发费用总额占同期销售收入总额的比例需符合要求:
最近一年销售收入小于5,000万元(含)的企业,比例不低于5% 。
最近一年销售收入在5,000万元至2亿元(含)的企业,比例不低于4% 。
最近一年销售收入在2亿元以上的企业,比例不低于3% 。
同时,企业在中国境内发生的研发费用总额占全部研发费用总额的比例不低于60% 。
高新收入占比:近一年高新技术产品(服务)收入占企业同期总收入的比例不低于60% 。
创新能力评价:企业创新能力综合评价(包括知识产权、科技成果转化能力、研究开发组织管理水平、企业成长性四项指标)需达到相应要求,综合得分须达到71分(含)以上 。
安全与质量:企业申请认定前一年内未发生重大安全、重大质量事故或严重环境违法行为 。
根据历年经验及2026年的政策趋势,新疆的高企认定工作通常遵循“常年受理、定期评审”的原则,并划分为明确的批次。
申报批次:2026年新疆高新技术企业认定预计将分为三个批次受理 。
预计时间节点:
第一批:网上系统填报和纸质材料提交截止时间通常在 5月至6月。
第二批:截止时间通常在 7月至8月。
第三批:截止时间通常在 9月至10月。
官方渠道:企业需密切关注 “新疆维吾尔自治区科学技术厅” 官网及 “高新技术企业认定管理工作网” 发布的年度正式申报通知。
操作建议:由于评审、公示及备案流程耗时较长,建议企业尽量选择第一批或第二批申报,避免因年底扎堆或材料补正问题影响认定结果。企业应提前至少半年启动知识产权布局和财务审计准备工作 。
2026年,新疆针对高新技术企业的扶持力度持续加大,形成了“自治区普适性奖励 + 地州市/兵团差异化配套 + 研发费用后补助”的多层次激励体系。多项奖励可以叠加享受,最高可获得超过130万元的直接资金支持。
根据《新疆维吾尔自治区高新技术企业发展专项资金管理办法(暂行)》,自治区财政对高企给予直接奖励和研发投入后补助 -1-3-5。
认定后补助:
首次认定:一次性奖励 20万-30万元(不同来源数据略有浮动,以30万为主流标准)。
重新认定(复审):一次性奖励 10万-15万元。
研发费用后补助(重大利好):
对有效期内的高新技术企业,根据其上一年度研发费用投入额,分档给予5万元至100万元不等的后补助支持。例如,研发投入达到1亿元以上的企业,可获得最高100万元的补助 。
核心税收优惠:
企业所得税减免:税率由25%减按15% 征收 。
研发费用加计扣除:研发费用可实行100%加计扣除 。
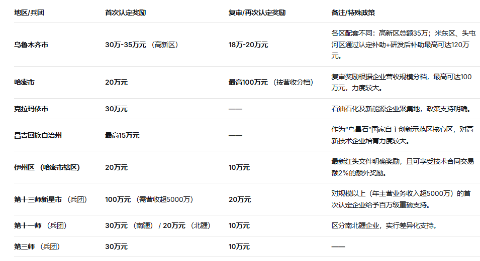
除自治区奖励外,新疆各地州市及兵团师市为吸引企业落地、鼓励本地创新,出台了极具竞争力的配套奖励政策。以下为2026年最新执行的典型标准:

特别提醒:
叠加规则:自治区奖励与地州市/兵团奖励可以叠加享受。例如,伊州区企业首次认定高企,可获得自治区奖补(约30万)+ 伊州区奖补(20万)+ 研发费用后补助,实际收益远超单项奖励 。
入库培育:部分地区如伊州区、阿拉尔市,对纳入国家高新技术企业培育库的企业也给予2万-5万元的入库奖励,鼓励企业提前规范 。
政策导向性更强:2026年的申报更加注重企业的实质性创新活动。评审专家不仅看专利证书,更看重科技成果转化能力(占30分)。企业需提供近3年内年均5项以上的转化证明材料(如销售合同、检测报告、用户报告)。
财务规范要求提高:研发费用辅助账的建立、年度审计报告与专项审计报告的数据一致性成为审查重点。企业必须提前规划,确保近三年(2023-2025)的财务数据经得起推敲 。
“免申即享”与资金直达:随着营商环境的优化,部分地区的奖补资金正朝着“免申即享”或简化流程的方向发展。企业在获得高企证书并在备案后,应主动关注当地科技局和财政局的资金拨付通知 。
产业融合加深:结合新疆“八大产业集群”建设,在油气生产加工、煤炭煤电煤化工、绿色矿业、粮油、棉花和纺织服装、新能源新材料等领域的科技型企业,在评审中将更具产业优势 。
2026年是新疆深入实施创新驱动发展战略的关键一年。高新技术企业认定已不再是简单的材料申报,而是对企业研发管理体系、知识产权战略、财务规范度和未来成长性的全面检阅。
对于新疆的企业而言,把握“提前布局、规范管理、用好政策”三大原则至关重要。建议有意向的企业立即启动自评,补齐知识产权短板,归集研发费用,争取在2026年的申报窗口期中脱颖而出,搭乘政策的东风,实现企业的高质量发展。
免费咨询热线:17702775565。(微信同号)
专业做项目申报12年,申报经验非常丰富,有很多大企业成功案例!小编可以为您带来关于高新技术企业、商标软著专利等知识产权、科技成果评价、专精特新、企业技术中心、工业设计中心、非遗、数字化车间和智能工厂、孵化器和众创空间、绿色工厂、大数据企业、首台套、标准、实验室和工程研究中心、科学技术奖、规上企业、老字号、新产品、可行性研究报告、商业计划书、公司注册注销、工商办理、股权设计、挂牌上市、软件开发、网站外包定制、百度关键词排名、SEO优化等众多项目辅导规划。